മൂന്ന് സ്ക്രീനുള്ള ലാപ്ടോപ്പുമായി ലെനോവോ
മൂന്ന് സ്ക്രീനുകളുള്ള മടക്കാനും നിവർത്താനും പറ്റുന്ന മൈക്രോസോഫ്റ്റിന്റെ ലാപ്ടോപ്പ് ഉടൻ വരുന്നു എന്നും അതിനായി കമ്പനി പേറ്റന്റ് ലഭിക്കാനായി അപേക്ഷ നൽകി എന്നുമുള്ള വാർത്ത നമ്മൾ ഇന്നലെ കേട്ടതേ ഉള്ളൂ, അപ്പോഴേക്കുമിതാ അടുത്ത വാർത്തയും എത്തി. അതും ലെനോവോയിൽ നിന്ന്. മൂന്ന് സ്ക്രീനുകളുള്ള ഒരു ഉപകരണത്തിനായുള്ള പേറ്റന്റ് ലെനോവോ സ്വന്തമാക്കി എന്നാണ് പുതിയ റിപ്പോർട്ടുകൾ സൂചിപ്പിക്കുന്നത്.

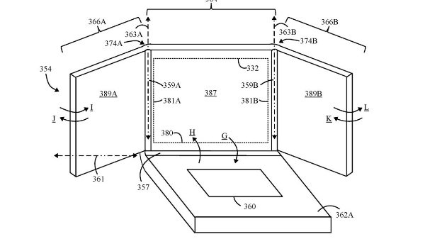
2016ൽ ലെനോവോ രജിസ്റ്റർ ചെയ്ത ഒരു പേറ്റന്റ് അപേക്ഷയാണ് ഇപ്പോൾ അംഗീകരിച്ചിരിക്കുന്നത്. ഇനി കമ്പനിക്ക് സ്വന്തമായ രീതിയിൽ ഈ മൂന്ന് സ്ക്രീൻ മടക്കും ലാപ്ടോപ്പ് നിർമിക്കുന്നതിനുള്ള നടപടികൾ തുടങ്ങാം. മടക്കാനും നിവർത്താനും പറ്റുന്ന വ്യത്യസ്ത ഭാഗങ്ങളിൽ നിന്നും കാണൽ സാധ്യമാക്കുന്ന ഒരു ഡിസ്പ്ലേ, അതും മൂന്ന് സ്ക്രീനുകയിലായി ഉള്ള ഒന്നാണ് ലെനോവോയുടെ മനസ്സിൽ. ഇതോടെ മൈക്രോസോഫ്റ്റ് നൽകിയ പേറ്റന്റിന്റെ കാര്യത്തിൽ ഒരു തീരുമാനമാകും.
എന്നാൽ മൈക്രോസോഫ്റ്റ് അപേക്ഷ നൽകിയ ഉപകരണവും ഇതുമായി സാരമായ വ്യത്യാസമുണ്ട്. മൂന്ന് ഡിസ്പ്ലേ ഉള്ള ഒരു ഫോൺ, അതാണ് മൈക്രോസോഫ്റ്റ് അവതരിപ്പിക്കാൻ പോകുന്നത്. നിർമ്മാണം പ്രാരംഭ ഘട്ടത്തിലാണ് എന്നതിനാൽ ഇറങ്ങാൻ അൽപ്പം വൈകും എങ്കിലും ഈയൊരു ഡിസൈനിന്റെ പേറ്റന്റ് ലഭിക്കാനായി മൈക്രോസോഫ്റ്റ് അപേക്ഷിച്ചിട്ടുണ്ട്. അകത്തേക്കും പുറത്തേക്കും മടക്കാവുന്ന രീതിയിലുള്ള ടാബ്ലെറ്റ് പോലെയുള്ള ഒരു ഉപകരണമാണ് മൈക്രോസോഫ്റ്റിന്റെ മനസ്സിലുള്ളത് എന്ന് ചിത്രങ്ങളിൽ നിന്നും വ്യക്തം.
രണ്ടു മുഖ്യ ഡിസ്പ്ലേ, മടക്കിൽ ഒരു ഡിസ്പ്ലേ എന്നിങ്ങനെയാണ് മൂന്ന് ഡിസ്പ്ലേകൾ ഉൾകൊള്ളിക്കുക. വരും കാലങ്ങളിൽ മടക്കുന്ന ഫോണുകൾ ലോകം കീഴടക്കും എന്ന് നല്ലപോലെ അറിയാവുന്നതിനാൽ ടെക്ക് ഭീമൻമാരായ എൽജി, ആപ്പിൾ, സാംസങ് എന്നിവർ എല്ലാം തന്നെ മടക്കുന്ന ഫോണുകൾക്കായുള്ള സാങ്കേതിക വിദ്യ വികസിപ്പിച്ചെടുക്കാനുള്ള കഠിനമായ പ്രായത്നത്തിലാണ്. ഈ കമ്പനികളെല്ലാം തന്നെ വ്യത്യസ്ത രൂപകല്പനയിലുള്ള പല മടക്കുന്ന ഉപകരണങ്ങൾക്കായുള്ള പേറ്റന്റ് അപേക്ഷ നൽകിയിട്ടുമുണ്ട്.
എൽജിയാണ് ഈ രംഗത്ത് ഏറെ പരീക്ഷണങ്ങൾ നടത്തുന്നത് എങ്കിൽ സാംസങ്ങും ഒട്ടും പിന്നിലല്ല. ഈയടുത്തായി കൂടെ സാംസങ് ഒരു മടക്കുന്ന ഉപകരണത്തിനായുള്ള പേറ്റന്റ് അപേക്ഷ നൽകിയിട്ടുണ്ട്. 2019 അവസാനത്തോടെ തങ്ങളുടെ ആദ്യത്തെ മടക്കും ഫോൺ വിപണിയിൽ എത്തിക്കാൻ ആവും എന്ന് കമ്പനി പ്രതീക്ഷിക്കുന്നുമുണ്ട്.
ആപ്പിളും ഈ രംഗത്ത് ഒട്ടും പിറകിൽ അല്ല. തങ്ങളുടേതായ രീതിയിൽ പല പരീക്ഷണങ്ങളും ആപ്പിളും നടത്തതിപ്പോരുന്നു. എന്തായാലും ഈ രംഗത്തേക്ക് സ്മാർട്ട്ഫോൺ വിപണിയിൽ അത്ര വിജയം കൊയ്യാതെ പോയ കമ്പനിയായ മൈക്രോസോഫ്റ്റ് കടന്നുവരുന്നത് ഏവരെയും അല്പം അതിശയിപ്പിക്കുന്നതും അതേസമയം പ്രതീക്ഷ നല്കുന്നതുമാണ്.
മൈക്രോസോഫ്റ്റിന്റെയും ലെനോവോയുടെയും ഈ പദ്ധതികൾ നടപ്പിലാകുകയാണെങ്കിൽ മടക്കുന്ന ഫോണുകൾ, ടാബ്ലറ്റുകൾ എന്നിവയുടെ സാങ്കേതികവിദ്യയിൽ പുത്തൻ മാറ്റങ്ങൾ നമുക്ക് പ്രതീക്ഷിക്കാം. ഇടയ്ക്ക് ചില കമ്പനികൾ രണ്ടു ഡിസ്പ്ലേ ഉള്ള മടക്കും ഫോണുകൾ അവതരിപ്പിച്ചിരുന്നു എങ്കിലും നിവർത്തിയാൽ രണ്ടു ഡിസ്പ്ലേക്കും ഇടയിലുള്ള അകലം ഒരു പ്രശ്നമാകുമായിരുന്നു. അതിന് ഈ പുതിയ സാങ്കേതികവിദ്യ പരിഹാരമാകും.
ലെനോവോ നൽകിയ അപേക്ഷയിൽ മൂന്ന് ഡിസ്പ്ലേകൾ ഉണ്ടാകും എന്ന് പറയുന്നുണ്ടെങ്കിലും അവ ടച്ച് ഡിസ്പ്ലേ ആണോ അല്ലെ എന്നത് വ്യക്തമാക്കിയിട്ടില്ല. ഇതിൽ രണ്ടു ഡിസ്പ്ളേകൾക്കും ക്യാമറയും മൈക്കും ഉണ്ടാകും എന്നും പറയുന്നുണ്ട്.
എന്തായാലും ലെനോവോയുടെ പരീക്ഷണങ്ങൾ വിജയിക്കുകയാണെങ്കിൽ ഇതേ സാങ്കേതിക വിദ്യ തന്നെ അവർക്ക് ഫോണുകളിലും ഉപയോഗിക്കാൻ സാധ്യമാകും എന്ന് കരുതാം. അതൊരുപക്ഷെ സ്മാർട്ട്ഫോൺ രംഗത്ത് വലിയ ചലനങ്ങൾ തന്നെ സൃഷ്ടിക്കാൻ കാരണവും ആയേക്കും. എന്തായാലും കാത്തിരുന്ന് കാണാം.


Click it and Unblock the Notifications








